
1.厦门市知识产权协会新一届理事会领导班子诞生,集微网当选常务副会长单位
2.恶意囤积专利?英特尔对软银旗下投资公司提出反垄断诉讼
3.因未开放NFC芯片访问,欧盟或对Apple Pay展开反垄断调查
4.“不能卖侵权飞利浦电视”,首尔半导体对美国渠道商胜诉
5.为推进专利领域联合惩戒落地,国家知识产权局出台管理办法
6.微软专利曝光,可移动光学模块使镜头更薄

1.厦门市知识产权协会新一届理事会领导班子诞生,集微网当选常务副会长单位
集微网消息 2019年10月23日,厦门市知识产权协会召开了第四届会员(代表)大会,选举了新一届理事,并在随后召开的第四届第一次理事会上审议通过新一届理事会领导班子成员名单。

科华恒盛股份有限公司当选理事会会长单位,厦门市首创君合专利事务所、厦门天马微电子有限公司、万晟佳音(厦门)知识产权事务有限公司、厦门积微信息技术有限公司、厦门知识产权投资有限公司等9家机构当选常务副会长单位,清华海峡研究院、厦门大学知识产权研究院、三达膜科技(厦门)有限公司、厦门松霖科技股份有限公司、天恒量子(厦门)科技集团等10家机构当选副会长单位,厦门雅迅网络股份有限公司、厦门宏发电声股份有限公司、集美大学知识产权教育与研究中心等机构当选常务理事单位。
集微网是国内知名的集成电路及手机行业门户网站,媒体业务之外,集微网还为企业提供专业的内容服务及传播平台支持、FA业务、会展服务、公关传播、软件服务、知识产权服务、法律服务等。知识产权服务涵盖专利申请、商标注册、版权登记、商标交易、专利交易等方面。
半导体行业发展迅猛,创新集成度高,知识产权成为半导体发展最重要的创新要素之一。过去十年,半导体产业开始越来越重视知识产权创造、保护与运用,创新的半导体知识产权联盟将有助于产业共同高速发展,提升知识产权驱动创新的落实。但由于历史原因,不少的半导体相关企业高价值知识产权储备欠缺,应对国外企业利用知识产权制造市场壁垒的经验不足,在市场竞争中屡屡遭遇各类知识产权挑战,严重影响企业发展、创新与产业安全,近期还有越演越烈的趋势。
在这种大环境中,在厦门市市场监督管理局(市知识产权局)、海沧区政府大力支持与指导下,集微网在2019集微半导体峰会期间隆重宣布联合众多半导体产学研具代表性的企业和机构,共同发起成立厦门“一带一路”半导体知识产权联盟。
该联盟以“开发、合作、共赢、创新”为宗旨,植根海沧、立足厦门,辐射“一带一路”,为半导体产业提供创新的知识产权运营、交易网络建设、成果转化、行业风险预警及应对、知识产权集中、知识产权金融支持、高价值专利培育、专利标准化和知识产权大数据等服务,积极提升“一带一路”半导体产业的创新能力、产业安全、行业话语权与知识产权运用的能力。(校对/小北)

2.恶意囤积专利?英特尔对软银旗下投资公司提出反垄断诉讼
集微网消息(文/木兮),10月22日,路透社报道称,芯片制造商英特尔公司对软银集团旗下的投资公司提起反垄断诉讼,指控该公司囤积专利,以多起专利诉讼来阻碍其他科技公司的发展。

诉讼称,软银于2017年以33亿美元收购Fortress Investment Group,获得1000多项美国技术专利的控制权。
此后,Fortress试图扭转业绩,通过加大对专利权的主张来达到软银对其投资的目的。英特尔认为,Fortress囤积专利的行为已构成垄断,因为它们认为:购买专利的成本将低于技术公司为避免诉讼而支付的费用。
因此英特尔声称此次起诉是为了结束由Fortress及其拥有或控制的网络(专利主张实体)进行的反垄断专利囤积行为。
目前软银尚未作出回应。(校对/holly)

3.因未开放NFC芯片访问,欧盟或对Apple Pay展开反垄断调查
集微网消息(文/木兮),据The Inquirer报道,相比Google Android平台支持对NFC芯片的直接访问,iPhone则更显“老奸巨猾”,尚未开放该访问平台。而对于这一行为,欧盟竞争委员会或将对Apple Pay展开反垄断调查。

iPhone目前不支持对NFC芯片的直接访问,使得付款服务商必须经过Apple Wallet和Apple Pay应用进行访问。
例如,有消息表示,在英国,Android的Barclays网银APP能够直接设定成默认的付款服务提供方;而在iPhone上,依然绕不过Apple Pay。此外,Android版Barclays网银APP可在顶部显示自己的UI,但iOS版APP只能显示Apple Wallet。
对此,苹果公司常以“出于安全考虑”作为挡箭牌,并表示如果APP直接提出付款请求,也能通过扫描二维码方式等实现。
就此行为,欧盟竞争委员会正同业界经营者展开对话,以寻找可能的“垄断和滥用行为”。知情人士表示,欧洲监管机构将苹果的这一行为视为“可能的反竞争市场行为”。(校对/holly)

4.“不能卖侵权飞利浦电视”,首尔半导体对美国渠道商胜诉
集微网消息(文/holly),首尔半导体在以美国渠道商为对象提起的“出售侵犯本公司专利的飞利浦电视机”的专利侵害诉讼中胜诉。据此,相关渠道商今后不得出售飞利浦电视机。
首尔半导体22日表示,向美国得克萨斯法院提起的以美国渠道商“Fry's Electronics”为对象的专利诉讼中,获得了对方今后将永久禁止销售飞利浦电视产品和美国照明企业Fight产品的胜诉判决。
此次诉讼中成为争论焦点的专利共有19项,是用于发光二极管(LED)电视和灯泡制造的关键技术。首尔半导体主张,相关技术被用于飞利浦电视和Fight的照明产品。
首尔半导体以飞利浦为对象,不仅针对此次胜诉的Fry's Electronics提起了诉讼,还在今年6月向美国加利福尼亚地方法院提起了有关美国渠道商“The Factory Depot”的专利侵害诉讼。(校对/Aki)

5.为推进专利领域联合惩戒落地,国家知识产权局出台管理办法
集微网消息(文/Vivian),10月17日,国家知识产权局印发《专利领域严重失信联合惩戒对象名单管理办法(试行)》(下称《管理办法》),对专利领域严重失信联合惩戒对象名单管理工作予以规范,以加强知识产权领域信用体系建设、推进专利领域联合惩戒工作落地实施。
此前,2018年11月,国家发展改革委、人民银行、国家知识产权局等38个部门和单位联合签署了《关于对知识产权(专利)领域严重失信主体开展联合惩戒的合作备忘录》(以下简称《备忘录》),决定对知识产权(专利)领域严重失信主体开展联合惩戒。
而根据最新出台的《管理办法》,以推动《备忘录》落地实施为主要目标,依据专利领域有关法律法规以及社会信用体系建设有关规定,对将严重失信主体列入名单、实施联合惩戒、移出名单以及开展信用修复等程序,明确了可操作的具体步骤和明确的期限要求。
《管理办法》中对联合惩戒对象的规定以及应被纳入联合惩戒的6种严重失信行为均直接来自于《备忘录》,包括重复专利侵权行为、不依法执行行为、专利代理严重违法行为、专利代理人资格证书挂靠行为、非正常申请专利行为、提供虚假文件行为。坚持从实际出发,突出对“严重失信”“恶意失信”行为的惩戒。
此外,据了解该办法将于12月1日起试行。(校对/holly)

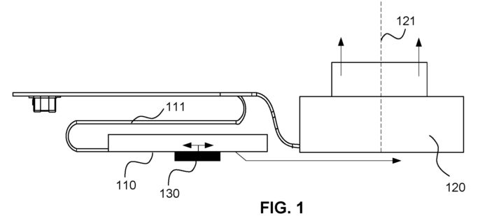
6.微软专利曝光,可移动光学模块使镜头更薄
集微网消息(文/叶子),近日,微软正在研发一种可以安装在智能手机上的相机成像系统模块。微软在专利资料当中表示,设计薄型移动设备是当前趋势,这种外形得益于将薄型成像设备容纳在移动电子设备内部。

在专利文件中,微软解释了一种成像系统,该成像系统包括一个光学模块,并包括一个透镜组,光线通过透镜组传输到图像传感器。专利的图像传感器和一个光学模块是可移动的,这在双屏Surface Duo上应该有很大用处。
微软在专利文件当中透露,该成像设备包括工作和非工作状态的结构。图像传感器和光学模块在该结构中是可移动的。为了进入工作状态,光学模块沿光轴延伸,并且图像传感器在延伸的光学模块下方水平移动。在进入非工作状态时,图像传感器将移开,为光学模块返回留出空间。

近日,微软硬件负责人Panos Panay透露Surface Duo将配备出色的相机。预计该专利有望应用在Surface Duo上。(校对/holly)
更多新闻请点击进入爱集微小程序 阅读
1.逆势而上!华为今年提前64天达成2亿台销售目标
2.无线耳机和智能穿戴利润增加,歌尔股份预计全年净利增长35%
3.三星发布软件更新修复GalaxyS10和Note10指纹漏洞
4.何刚:华为Mate30 5G是核弹级爆品 销量年前可破千万
5.特斯拉上海工厂即将面向员工销售首批Model 3汽车
6.诺贝尔奖得主天野浩小组开发出更节能的电动汽车
7.苹果再度出手拯救Japan Display 计划缩短付款期限
8.两大核心业务失利,德州仪器第三季营收同比下滑11%
9.斥资6亿元,南大光电拟在宁波新建光刻胶材料项目
10.个推大数据:2019年Q3华为增量
11.何刚预测华为Mate 30系列销量年前可破千万
12.“泰坦计划”新进程?苹果两项新专利成功获批
13.Flyme 8内测版开放申请,稳定版11月11日开始推送
14.外媒:谷歌Pixel 4 90Hz在高亮度模式下才有效
15.FF突围!计划融资8.5亿美元,积极寻求中国合资伙伴
16.高管透露,realme将会升级到ColorOS 7
17.非5G设备也能用5G!华为发布首款5G双模全网通随行WiFi
18.华为:已成为Eclipse基金会战略会员
19.2999元!华为VR Glass正式发布:可进行近视调节
20.206家中国企业登上全球独角兽榜 首次超过美国
21.索尼相机标配!万元索尼手机正式发布
22.评芯而论:天气异常难测,产业链关注日厂是否重演出走海外
23.黑科技?网传华为能推出软件级别的90Hz刷新率
24.央视财经:集创北方CEO张晋芳荣获“中国青年创业奖”
25.彭博社:苹果或于2020年推出Arm版Mac
更多新闻请点击进入爱集微小程序 阅读

听说你也“在看”